FL80SV - Стандартные серводвигатели
Техническое описание в формате .pdf
Заказ товара
Для того, чтобы сделать заказ, вы можете:
Прислать заявку по почте ring@upel.ru
Позвонить по тел./отправить факс на +7 (499) 490-03-65
Написать в Whatsapp
Мы работаем только с юридическими лицами. Соответственно, при оплате наших товаров используется только безналичный расчет. По предоплате и с НДС. Минимальная сумма заказа составляет пять тысяч рублей. Счет действителен в течение 3 рабочих дней.
Сроки отгрузки также указываются и в коммерческом предложении, и в счете. Мы делаем все возможные скидки крупным и постоянным клиентам. Если у вас есть достаточно крупный заказ или вы готовы заказывать регулярно — вам стоит обратиться к менеджеру и обсудить свою ПЕРСОНАЛЬНУЮ скидку.
Технические характеристики
| Характеристика | Значение |
|---|---|
| Производитель | Fulling Motor |
| Тип кодера | 1. Оптический энкодер. 2. Магнитный энкодер. 3. Метод резольвера. Примечание: Доступны несколько разрешений. Доступны инкрементные и абсолютные значения. |
| Максимальное радиальное усилие (Н) | 392 |
| Максимальное осевое усилие (Н) | 147 |
| Класс изоляции | Класс Б |
| Класс IP | IP65 |
| Условия окружающей среды | Температура: -20℃~ +50℃. Относительная влажность: ≤90%RH. Среда установки: ≤1000 м (1000~4000 м, снижение номинальных характеристик), беречь от коррозии, горючих газов, капель масла, пыли. Температура окружающей среды: -20℃~ +85℃. Условия хранения: -20℃. |
Стандартные модели
| Характеристика | Модель | |||
|---|---|---|---|---|
| FL80SV75-220 | FL80SV75-48 | FL80SV100-220 | FL80SV100-48 | |
| Номинальная мощность (Вт) | 750 | 750 | 1000 | 1000 |
| Номинальное напряжение (VDC) | 220 | 48 | 220 | 48 |
| Номинальная скорость (об/мин) | 3000 | 3000 | 3000 | 3000 |
| Номинальный крутящий момент (мН·м) | 2.39 | 2.39 | 3.18 | 3.18 |
| Номинальный ток (A) | 4.4 | 22.2 | 5.9 | 30 |
| Скорость (об/мин) | 6000 | 5000 | 6000 | 5100 |
| Максимальный крутящий момент (Н·м) | 7.14 | 7.14 | 9.6 | 9.6 |
| Ток (А) | 13.2 | 73.5 | 17.7 | 90 |
| Сопротивление (Ом) | 1.77 | 0.064 | 0.885 | 0.034 |
| Индуктивность (мГн) | 5.6 | 0.2 | 3.67 | 0.16 |
| Обратная ЭДС (Vrms/KRPM) | 36 | 6.5 | 36 | 6.5 |
| Постоянный крутящий момент (мН·м) | 0.54 | 0.098 | 0.54 | 0.107 |
| Электрическая постоянная времени (мс) | 3.2 | 3.1 | 4.1 | 4.7 |
| Механическая постоянная времени (мс) | 1.48 | 1.65 | 1.06 | 0.86 |
| Инерция ротора (кг·см²) | 1.56 | 1.56 | 2.22 | 2.22 |
| Инерция ротора с тормозом (кг·см²) | 1.685 | 1.685 | 2.34 | 2.34 |
| Количество полюсов | 10 | 10 | 10 | 10 |
| Кодер | 2500 p/об. | 2500 p/об. | 2500 p/об. | 2500 p/об. |
| Длина двигателя L1(мм) | 112.0 | 118.0 | 129.0 | 135.0 |
| Длина двигателя L2(мм) | 149.0 | 155.0 | 165.0 | 171.0 |
| Масса (кг) | 2.5 | 2.6 | 3.2 | 3.3 |
| Масса с тормозом (кг) | 3.1 | 3.2 | 3.8 | 3.9 |
FL80SV75-220
| Номинальная мощность (Вт) | 750 |
| Номинальное напряжение (VDC) | 220 |
| Номинальная скорость (об/мин) | 3000 |
| Номинальный крутящий момент (мН·м) | 2.39 |
| Номинальный ток (A) | 4.4 |
| Скорость (об/мин) | 6000 |
| Максимальный крутящий момент (Н·м) | 7.14 |
| Ток (А) | 13.2 |
| Сопротивление (Ом) | 1.77 |
| Индуктивность (мГн) | 5.6 |
| Обратная ЭДС (Vrms/KRPM) | 36 |
| Постоянный крутящий момент (мН·м) | 0.54 |
| Электрическая постоянная времени (мс) | 3.2 |
| Механическая постоянная времени (мс) | 1.48 |
| Инерция ротора (кг·см²) | 1.56 |
| Инерция ротора с тормозом (кг·см²) | 1.685 |
| Количество полюсов | 10 |
| Кодер | 2500 p/об. |
| Длина двигателя L1(мм) | 112.0 |
| Длина двигателя L2(мм) | 149.0 |
| Масса (кг) | 2.5 |
| Масса с тормозом (кг) | 3.1 |
FL80SV75-48
| Номинальная мощность (Вт) | 750 |
| Номинальное напряжение (VDC) | 48 |
| Номинальная скорость (об/мин) | 3000 |
| Номинальный крутящий момент (мН·м) | 2.39 |
| Номинальный ток (A) | 22.2 |
| Скорость (об/мин) | 5000 |
| Максимальный крутящий момент (Н·м) | 7.14 |
| Ток (А) | 73.5 |
| Сопротивление (Ом) | 0.064 |
| Индуктивность (мГн) | 0.2 |
| Обратная ЭДС (Vrms/KRPM) | 6.5 |
| Постоянный крутящий момент (мН·м) | 0.098 |
| Электрическая постоянная времени (мс) | 3.1 |
| Механическая постоянная времени (мс) | 1.65 |
| Инерция ротора (кг·см²) | 1.56 |
| Инерция ротора с тормозом (кг·см²) | 1.685 |
| Количество полюсов | 10 |
| Кодер | 2500 p/об. |
| Длина двигателя L1(мм) | 118.0 |
| Длина двигателя L2(мм) | 155.0 |
| Масса (кг) | 2.6 |
| Масса с тормозом (кг) | 3.2 |
FL80SV100-220
| Номинальная мощность (Вт) | 1000 |
| Номинальное напряжение (VDC) | 220 |
| Номинальная скорость (об/мин) | 3000 |
| Номинальный крутящий момент (мН·м) | 3.18 |
| Номинальный ток (A) | 5.9 |
| Скорость (об/мин) | 6000 |
| Максимальный крутящий момент (Н·м) | 9.6 |
| Ток (А) | 17.7 |
| Сопротивление (Ом) | 0.885 |
| Индуктивность (мГн) | 3.67 |
| Обратная ЭДС (Vrms/KRPM) | 36 |
| Постоянный крутящий момент (мН·м) | 0.54 |
| Электрическая постоянная времени (мс) | 4.1 |
| Механическая постоянная времени (мс) | 1.06 |
| Инерция ротора (кг·см²) | 2.22 |
| Инерция ротора с тормозом (кг·см²) | 2.34 |
| Количество полюсов | 10 |
| Кодер | 2500 p/об. |
| Длина двигателя L1(мм) | 129.0 |
| Длина двигателя L2(мм) | 165.0 |
| Масса (кг) | 3.2 |
| Масса с тормозом (кг) | 3.8 |
FL80SV100-48
| Номинальная мощность (Вт) | 1000 |
| Номинальное напряжение (VDC) | 48 |
| Номинальная скорость (об/мин) | 3000 |
| Номинальный крутящий момент (мН·м) | 3.18 |
| Номинальный ток (A) | 30 |
| Скорость (об/мин) | 5100 |
| Максимальный крутящий момент (Н·м) | 9.6 |
| Ток (А) | 90 |
| Сопротивление (Ом) | 0.034 |
| Индуктивность (мГн) | 0.16 |
| Обратная ЭДС (Vrms/KRPM) | 6.5 |
| Постоянный крутящий момент (мН·м) | 0.107 |
| Электрическая постоянная времени (мс) | 4.7 |
| Механическая постоянная времени (мс) | 0.86 |
| Инерция ротора (кг·см²) | 2.22 |
| Инерция ротора с тормозом (кг·см²) | 2.34 |
| Количество полюсов | 10 |
| Кодер | 2500 p/об. |
| Длина двигателя L1(мм) | 135.0 |
| Длина двигателя L2(мм) | 171.0 |
| Масса (кг) | 3.3 |
| Масса с тормозом (кг) | 3.9 |
Общее описание
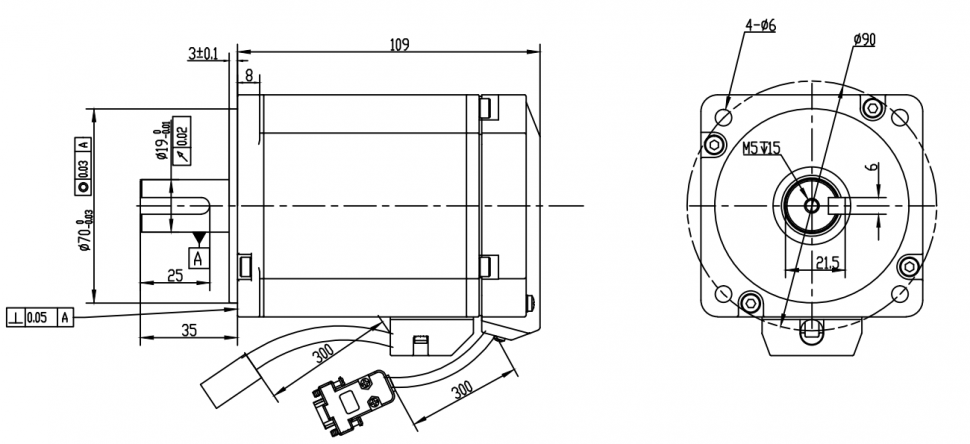
Модель FL80SV представляет собой стандартный серводвигатель. Ключевые технические параметры включают номинальную мощность до 1000 Вт, номинальную скорость до 3000 об/мин и номинальный крутящий момент до 3.18 Н·м.
Конструктивные особенности двигателя гарантируют его стабильную и точную работу: возможность выбора типа обратной связи (оптический, магнитный энкодер или резольвер), высокую механическую нагрузочную способность (максимальная радиальная сила 392 Н, осевая - 147 Н) и расширенный диапазон рабочих характеристик для стандартных моделей. Двигатель отличается высокой степенью защиты IP65, высоким классом изоляции (Класс Б) и широким рабочим диапазоном температур от -20°C до +50°C.
Электрическое соединение
| Номер | Цвет | Свинцовый датчик | Функция | Описание |
|---|---|---|---|---|
| 1 | Желтый | Кабель AWG16/14 |
Фаза U | / |
| 2 | Kрасный | Фаза V | / | |
| 3 | Черный | Phase W | / |
Остались вопросы?
Не нашли нужную модель или нужна консультация по продукции? Наши менеджеры будут рады Вам помочь разобраться во всем. Просто заполните форму, и мы свяжемся с Вами как можно скорее.